Load Cell
 
  Transducers >> ADI 90610T
Description :

90610-T pancake universal load cells are suitable for weigh bridge,tank and hopper weighing applications. This is constructed from heat treated stainless steel suitable for harsh and hygenic industrial applications. It is hermetically sealed and it has long life. Extremely suitable for tank,silos level monitoring. 90610-T is available with integral thread.

 
Features
 50 Kgf to 500 Kgf Capacities.
 Complete environmental protection - IP68 class.
 Standard output 2.0 m V/V available. Hardened stainless steel construction.
 Miniature and low profile.
 Easy for installation.
 Custom built design available on request.
 
Applications
 Tank level measurement
 Weighbridge
 Tank, Silo and hopper weighing
 Tensile testing and automation
 Force and impact test
 Low profile floor scale
 
Performance Specification
Standard Capacities 50,100,200,500 KGF.
1, 2, 3, 5, 10, 20, 30, 50 Tf.
Excitation Voltage 10VDC-Maximum 15VDC
Nominal Output 2.0 mV/V
Non - Linearity <±0.1% FSO
Hysteresis <±0.1% FSO
 
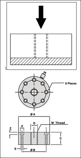
CAPACITY  Tf
A
B
C
D
E
F
M Thread
50 Kg - 1T
50
42
23
8
4.2
4.5
12 X 1.25
2T - 5T
90
70
35.5
10
6.5
6.5
16 X 1.5
10T - 20T 115
90
47.5
13
8.5
30 X 2
30 X 2
30 X 2
30T - 50T 155
125
74.5
18
12.5
39 X 2
39 X 2
39 X 2
 
 
Copyrights @ Concept Electronics 2010. All rights reserved Developed by Om Sai Infotech and Promoted by websites4seo.com