Load Cell
 
  Transducers >> ADI 90610M
Description :

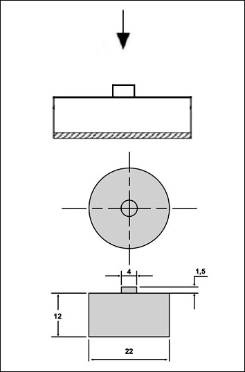
90610-Mini pancake compression load cells are suitable for applications where space is constraint. This is constructed from heat treated stainless steel suitable for harsh and hygenic industrial applications. It is sealed for IP-65 protection and it has long life. Extremely suitable for automation,tensile testing and force measurement. 90610-Mini is available with integral load button.

 
Features
 50 Kgf to 500 Kgf Capacities.
 Complete environmental protection - IP65 class.
 Standard output 2.0 m V/V available. Hardened stainless steel construction.
 Miniature and low profile.
 Easy for installation.
 Custom built design available on request.
 Available with mounting threads optionally.
 
Applications
 Tensile testing.
 Force and impact test.
 Robotics.
 Test Bench.
 Automation.
 Industrial Force Measurement.
 
Performance Specification
Standard Capacities 50,100,200,500 KGF.
Excitation Voltage 10VDC-Maximum 15VDC
Nominal Output 2.0 mV/V
Non - Linearity <±0.1% FSO
 
 
Copyrights @ Concept Electronics 2010. All rights reserved Developed by Om Sai Infotech and Promoted by websites4seo.com