Load Cell
 
  Compression >> ADI 90410
Description :

Single Column Rocker type compression Load Cell model- ADI 90410 is Strain Gage based which is fully temperature compensated. It is provided with antirotating mechanism and it is self restoring and easy to install. This is also available with mounting module WM-VIII upon request.This is linearised with accuracy of 0.025% of FSD.This Load Cell is provided with surge voltage protection.

 
Performance Specification
Standard Capacities (Tf.) 10, 20,30,40,50,60,75,100
Excitation Voltage 15 VDC - Maximum 20 VDC
Nominal Output 2.0 mV/V
Non - Linearity < ± 0.025 % FSO (Full Scale Output)
Hysteresis < ± 0.05 % FSO
Non-Repeatability < ± 0.02 % FSO
Creep (30 minutes) < ± 0.03 % FSO
Zero Balance ± 1.0 % FSO
Input Resistance 770 ± 5.0 Ohms
Output Resistance 700 ± 3.0 Ohms
Insulation Resistance (50VDC) > 1000 Mega Ohms at 50 VCD
Cable 4 Core Screen Cable 20 Mtrs.
Safe Overload 150%
Ultimate Overload 300%
Temp. Compensated Range 0-60 0C
Deflection < 0.4 mm at rated load
Finish & Construction Stainless Steel - 17-4 PH     Outer Casing - SS 304
Environmental Protection Class IP68
Transient Voltage Protection Provided
 

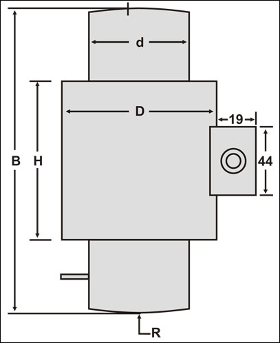
Type

B

R
d
D
H
10,15,20,30,40
150
150
44
90
75
45,50,60
175
150
44
90
75
75,100
200
300
65
90
100
 
 
Copyrights @ Concept Electronics 2010. All rights reserved Developed by Om Sai Infotech and Promoted by websites4seo.com